132011 CARGO:
información, compatibilidad y equivalencias
Bendix
- Código:
- Marca:
- País de la marca:
- Tipo de pieza:
- Valoración de la pieza:
Características
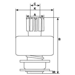
- Código
- 132011
- Marca
- CARGO
- País de la marca
- Dinamarca
- Tipo de pieza
- Equivalente
- Sentido de giro
- Sentido de giro a la derecha (horario)
- Diámetro interior [mm]
- 12,00
- Diámetro exterior [mm]
- 28,0
- Longitud [mm]
- 50,20
- Número de dientes
- 8
Descripción
CARGO es una empresa reconocida en el sector automotriz, con una trayectoria que se extiende por varias décadas, dedicada a la fabricación y distribución de componentes para vehículos. Su experiencia se refleja en la calidad y precisión de sus productos, orientados tanto a la reposición como al mantenimiento preventivo. A lo largo de los años, CARGO ha consolidado su presencia en mercados internacionales, ofreciendo soluciones técnicas que cumplen con normativas y estándares rigurosos. Aunque no todos sus productos son de origen original, la marca mantiene un compromiso firme con la durabilidad y el rendimiento.
El componente identificado con el código 132011 corresponde a un bendix para motor de arranque, una pieza clave en el sistema de encendido del automóvil. Su función principal consiste en acoplar el motor eléctrico del arranque con el volante del motor, permitiendo así iniciar la combustión interna. Este mecanismo actúa mediante un engranaje que se desplaza para engranar y transmitir el movimiento necesario para arrancar el motor. La pieza, aunque es un repuesto análogo y no original, está diseñada para cumplir con las especificaciones técnicas que aseguran un funcionamiento fiable y eficiente, evitando fallos comunes como el deslizamiento o el desgaste prematuro del piñón.

Recomendación de IA
Según nuestros datos, una buena pieza de repuesto es la 3614532510 de HYUNDAI, que destaca por ser una pieza original y de un fabricante confiable, lo que garantiza calidad y confianza en su funcionamiento. Por otro lado, la alternativa 132011 de CARGO es más popular entre los compradores y tiene más ofertas, por lo que resulta más fácil de encontrar y comparar precios. Aunque esta segunda opción no cuenta con la misma garantía de calidad que la original, sigue siendo una buena elección para quienes buscan mayor variedad y accesibilidad. En resumen, ambas piezas son recomendables según lo que se valore más: calidad o facilidad para comprar.
Recambio originales (número ОЕM) para 132011 CARGO
Equivalencias y repuestos compatibles para 132011 CARGO
Consejos para elegir el repuesto adecuado
Asegúrate de que el código de la pieza coincida con el número original de tu repuesto. También revisa la lista de vehículos compatibles: muchos fabricantes proporcionan información sobre la aplicabilidad. En Autoparts Wiki mostramos para qué marcas, modelos, generaciones y versiones es compatible 132011 CARGO. Si tienes dudas, compara las características: dimensiones, conectores, tipo de motor.
Los alternativos los fabrican terceros bajo estándares técnicos similares al original, por eso pueden cumplir la misma función. Son una opción accesible para reemplazar piezas originales y amplían las opciones en reparaciones. La calidad y duración dependen del fabricante.
La información detallada sobre 132011 CARGO está disponible en esta página, en las secciones “Características”, “Descripción” y “Compatibilidad”. Además, puede consultar el catálogo oficial de CARGO, la documentación del vehículo, foros confiables con opiniones de usuarios o sitios especializados en la búsqueda de repuestos automotrices.
Compatibilidad de 132011 CARGO con coches
Hyundai
- Hyundai Sonata III sedán (Y-3) (1993 - 1998)
- Hyundai Sonata IV sedán (EF) (1998 - 2001)
- Hyundai Sonata IV sedán (EU4) (2001 - 2005)
KIA
- KIA Opirus sedán (GH) (2003 - 2006)
Mazda
- Mazda 3 sedán (BK12) (2004 - 2006)
- Mazda 3 hatchback (BK) (2003 - 2009)
Dadi
- Dadi Shuttle SUV (2006 - 2026)
Sobre nosotros
40 millones recambios para coches
Catálogo profesional propio
Información independiente
y fiableTrabajamos
en toda Europa desde 2011Un asistente fiable en el proceso de reparación y mantenimiento adecuado.
Autoparts Wiki: una plataforma abierta para conocer piezas de automóvil.
Autoparts Wiki es un proyecto informativo creado para facilitar el acceso a datos técnicos sobre repuestos de automóviles y su compatibilidad. Nuestro objetivo es ayudar a propietarios de vehículos, mecánicos y especialistas del sector a ahorrar tiempo y tomar decisiones basadas en información fiable y contrastada.
La base del proyecto es un catálogo experto, desarrollado con el apoyo tecnológico de Autoparts y con datos procedentes de fabricantes, fuentes abiertas y la comunidad de expertos. Contiene información sobre decenas de millones de referencias: números originales, equivalencias, características técnicas, compatibilidad, opiniones y más.
El proyecto cuenta con el apoyo de Autoparts, pero mantiene un enfoque informativo e independiente, promoviendo la transparencia y el acceso libre a los datos sobre repuestos en toda Europa.
